| নং | শিরোনাম | সেবার ধাপ | কার্যকলাপ |
|---|---|---|---|
| | |||
| ১ | ক্ষুদ্র ঋণ সেবা | দেখুন | |
| ২ | অঙ্গীভূত আনসার মোতায়েনের মাধ্যমে নিরাপত্তা সেবা | দেখুন | |
| ৩ | জাতীয় জরুরী প্রয়াজনে নিবার্হী আদেশবলে স্বল্প মেয়াদে আনসার অঙ্গীভূতকরণ | দেখুন | |
| ৪ | সরকারী/বেসরকারী সংস্থায় আনসার অঙ্গীভূতকরণ | দেখুন | |
| ৫ | পেশাভিত্তিক প্রশিক্ষণ | দেখুন | |
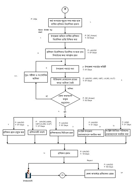
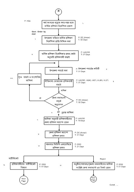
| ৬ | সাধারণ আনসার মৌলিক প্রশিক্ষণ (পুরুষ ও মহিলা) | দেখুন | |
| ৭ | সাধারণ আনসার মৌলিক প্রশিক্ষণ (পুরুষ ও মহিলা) | দেখুন | |
| ৮ | গ্রাম ভিত্তিক মৌলিক প্রশিক্ষণ (ভিডিপি পুরুষ ও মহিলা) | দেখুন |